



代理品牌
推薦新聞
熱門新聞
新聞詳情
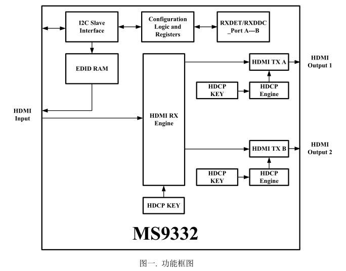
MS9332-HDMI 信號 1 分 2 分配器芯片
MS9332 是一款最高信號速率可達 3Gbps 的 HDMI 信號 1 分 2 分配器芯片。在 3Gbps 的速
率下,MS9332可以支持到4K×2K@30Hz分辨率的HDMI輸入信號。同時可以支持10/12/16 位
的色深。HDMI 輸入端的時鐘與數據恢復功能可以自適應不同長度不同質量的線材,使得在高
速率下傳輸的 TMDS 信號始終具有最佳性能。HDMI 輸出端具有信號預加重功能,可以支持長
線傳輸。MS9332 集成內部 EDID RAM 和 HDCP KEY RAM。
2. 功能特征
? 符合 HDMI 1.4b 標準
? 支持1路DVI/HDMI輸入,2路DVI/HDMI
輸出
? 支持 HDMI1.4b 4K×2K@30Hz
? HDMI 輸入端具有自適應 EQ
? HDMI 輸出端具有預加重功能
? 支持 10/12/16 位色深輸入/輸出
? 自動監測 HDMI 輸入信號
? 自動監測 HDMI 輸出設備狀態
? 支持 5V TTL 電平的 DDC 通道
? 集成 HDCP KEY RAM
? 集成 512K 字節的 EDID RAM
? 不需要外部晶振
? LQFP64 封裝
? 符合 RoHS 標準
3. 應用場景
? HDMI 分配器
General Description
The MS9332 is a one-to-two active splitter that supports a signaling rate up to 3.0Gbps. With 3.0Gbps capability,
the MS9332 can support the new 4Kx2K@30Hz video format. The MS9332 equalizes incoming TMDS data
with optimal quality regardless of the incoming signal quality. The highly acclaimed equalization technology
provides for support of long or low-quality HDMI cables at even the highest speeds. Input terminations of the
TMDS inputs and output current levels are both programmable. The chip also supports on-chip HDCP Keys
RAM and EDID Memory.
Features
? Compliant with HDMI 1.4b and DVI 1.0
? Support One Port input,2 Port output
? Support HDMI 4Kx2K@30Hz
? Support 10/12/16 bit Deep Color
? Adaptive input equalization
? Output Pre-emphasis
? Integrated pre-programmed HDCP keys
? Embedded EDID RAM saves external EDID
ROM costs
? Active port detection by monitoring Power 5V
inputs and TMDS input clock
? Support 5V TTL DDC
? No external crystal oscillations are required
? RoHS Compliant
? LQFP64 Package
Applications
? HDMI Splitter
Function Block Diagram
`RXDET/RXDDC
如需獲取更多產品資料PDF,電路圖或樣品,技術疑問(原廠技術支持)歡迎隨時與我們取得聯系??!
深圳市九黎科技有限公司:m.artyun.cn
聯系電話:0755-82714294/18771735437(微信同號)
聯系人:鄭小姐 傳真:0755-82737072 QQ:313620595
郵箱:[email protected]
